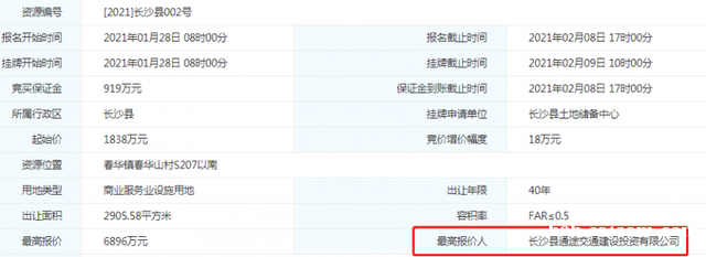
该宗地已达到配套建设小学的要求,需按《长沙市城镇住宅小区配套中小学校幼儿园建设及产权移交暂行办法》(长政办发〔2018〕 6号)的要求配套建设幼儿园和小学;按照《长沙县新建商品房“交房即交证”改革工作方案(试行)》,项目建设需符合“交房即交证”要求。[2021]长沙县002号地块位于长沙县春华镇春华山村S207以南,规划用途为商业服务业设施用地,用地性质为批发零售用地(加油加气站用地)容积率≤0.5,建筑密度≤35%,绿地率≥35%,建筑控制高度≤12米。

按照《长沙县新建商品房“交房即交证”改革工作方案(试行)》,项目建设需符合“交房即交证”要求。

